קנון מוציאה בקשה לרישום פטנטים ל- 3 עדשות
עדשת 24-120mm F2.8 IS, ועדשת 85mm F1.4 IS, ועדשת 100-400mm F4.6-7.3 IS יושקו בקרוב?

אחרי החודש האחרון של השנה שעברה שהיה עמוס בהשקות, נראה שקנון לא עוצרת במירוץ להשגת סדרת עדשות עם כל הטווחים שרק תירצו.
הפטנטים שקנון הגישה בקשה עליהם הם בעיקר של עדשות ידועות או די סטנדרטיות, אבל עדשת ה- 24-120mm F2.8 IS גורמת לנו להתחיל לחשוב שאולי הגיע הזמן לעבור לקנון סופית?
להלן המפרט המלא של הפטנטים לפי סדר:
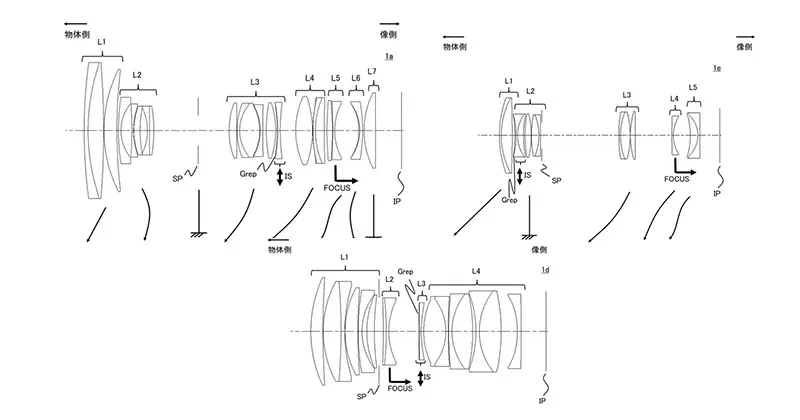
עדשת 24-120mm F2.8 IS

העדשה ככל הנראה תצטרף לתושבת ה- RF של החברה, תאריך הגשת הפטנט שלה הוא 25/11/2022.להלן הפירוט:מטרת ההמצאה הנוכחית היא להקטין את הגודל והמשקל של קבוצה ניתנת להזזה המפוזרת ביחס לציר אופטי, תוך דיכוי התרחשות של סטייה כרומטית עקב הקבוצה הנעה.במערכת אופטית המשמשת במכשיר איסוף תמונה, על ידי הזזת (הסטה) של עדשה או קבוצת עדשות כקבוצת הפחתת רעידות בכיוון אקסצנטרי לציר האופטי, טשטוש תמונה שנגרם על ידי רעד של מכשיר איסוף התמונה עקב רעידות מצלמה וכו' מצטמצם. (תיקון) אפשרי.עם זאת, במערכת האופטית המתוארת במסמך פטנט 1, קבוצת העדשות השלישית, שהיא קבוצה להפחתת רעידות, מורכבת מארבע עדשות חיוביות, שליליות, חיוביות ושליליות מסודרות בסדר מצד האובייקט, והיא כבדה. מסיבה זו, מנגנון ההנעה להסטת כל קבוצת העדשות השלישית ביחס לציר האופטי הופך לגדול, וכתוצאה מכך, קנה העדשה המכיל את מערכת האופטית ההדמיה הופך גדול.במערכת האופטית ההדמיה המתוארת במסמך פטנט 2, מכיוון שקבוצת העדשות הרביעית, שהיא קבוצת העדשות נגד רטט, מורכבת משתי עדשות, למרות שהיא קומפקטית וקלת משקל, מתרחשת סטייה כרומטית כאשר קבוצת העדשות הרביעית מוזזת. קשה לדכא את התרחשותםעל פי ההמצאה הנוכחית, ניתן לדכא את התרחשות סטייה כרומטית עקב הקבוצה הניידת תוך הפחתת הגודל והמשקל של הקבוצה הניידת המפוזרת ביחס לציר האופטי.
עדשת 85mm F1.4 IS

העדשה ככל הנראה תצטרף לתושבת ה- RF של החברה, תאריך הגשת הפטנט שלה הוא 25/11/2022.
העדשה הזאת אולי אחת העדשות שלא מעט צלמי קנון היו רוצים לקבל, בסופו של דבר היא תעלה פחות מהעדשה RF 85mm f/1.2 L USM וגם תשקול פחות, מה שיאפשר גם לצלמים עם תקציב נמוך יותר להנות ממפתח צמצם מקסימלי של f/1.4.
עדשת 100-400mm F4.6-7.3 IS

העדשה ככל הנראה תצטרף לתושבת ה- RF של החברה, תאריך הגשת הפטנט שלה הוא 25/11/2022.
העדשה הזאת מגיעה באופן די מוזר ואולי גם לא נכון, כזכור בתאריך ה- 14/09/2021 קנון השיקה את העדשה RF 100-400mm f/5.6-8 IS USM עם מפתח צמצם מקסימלי f/5.6 עד f/8 מה שכמובן גרם לה להגיע במחיר נמוך במיוחד בגלל הצמצם המשתנה שלה, אבל במקביל להשיק עכשיו עדשה שתשפר את העדשה הקודמת בכל כך מעט זה אולי יהיה טוב לחלק מהמשתמשים אבל ביחס למתחרות העדשה הזאת אפילו לא מדגדגת אותן בפתח הצמצם המקסימלי לדוגמא: הדגם של סוני למירורלס FE 100-400mm f/4.5-5.6 GM OSS מגיע עם אחלה מפתח צמצם, הדגם של ניקון למירורלס NIKKOR Z 100-400mm f/4.5-5.6 VR S מגיע גם הוא עם אחלה מפתח צמצם, וזה מעלה את השאלה מתי קנון תשיק עדשה מתחרה עם מפתח צמצם מקסימלי טוב יותר.
לסיכום: כידוע קנון נהפכה בשנים האחרונות ליצרנית בלתי ניתנת לעקיפה מצב המתחרים וזאת בגלל עצם העובדה שקנון לא עוצרת ומסתפקת בהשקה של עדשה אחת או מצלמה אחת, החברה פשוט ממשיכה ללא הרף בהשקות של הציוד צילום מכל סוג שרק תירצו וללא הגבלה, במקביל החברה שומרת על מלאי של כל ציוד חדש אותו היא משיקה מה שאומר שאם יש מוצר מוצלח של קנון הוא כבר יגיע לחנויות וימכר ללא הצורך בהמתנה או הזמנה מראש וזה יתרון על פני שאר החברות ובעיקר על ניקון.

